改進旋風除塵器結構提高除塵效率的新方法
摘要 討論改變旋風器整體結構、增加附件、改進原有旋風器構件的幾種改進結構新做法,分析這些做法提高除塵效率的合理性。
關鍵詞:旋風除塵器, 除塵效率, 改進結構
一 概述
工業生產過程產生的粉塵大多為破碎、粉碎、輸送、清理過程。這一過程產生的粉塵與燃燒過程產生的煙塵相比要偏粗,可以用 Rosin-Rammler 函數表示粒徑分布。因此,旋風器 ( 雙稱旋風除塵器、旋風收塵器、旋風分離器等,本文簡稱旋風器 ) 成為工業通風常除塵設備。
旋風器突出的優點是它的經濟性以及結構和設計較為簡單。由于沒有運動部件所需的維修和保養相對較少,選用合適的材料和結構形式,對一些特殊操作應用條件 ( 如高溫,高壓,腐蝕性氣體環境等 ) 也可以使用。
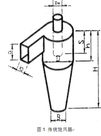
旋風器中用的_多的是切向進口形成的旋風器 ( 如圖 1) ,這種旋風器通常可以用以筒體直徑 D 為比值的結構參數 ( 無因次結構參數 ) 來設計。由于 Stairmand 型 ( _型 ) 研究數據比較完整和應用中的有效性,許多研究者把自己改進旋風器與其作性能對比[ 1 ] 。
作為旋風器研究途徑大致為:研究旋風器空氣動力場 ,通過氣流場判定其中顆粒物的運動與分離:進行性能參數實測判定旋風器的性能優劣。由于旋風器是依靠離心力來收集粉塵,對于如何提高微細粉塵 (Fine Dust or Fine Particle Matter) 除塵效率的技術措施_后都歸結為對旋風器的結構改進,創造和利用更適合氣固 ( 塵 ) 兩相分離的流場構造。
二 旋風器的結構改進
1 整體結構的改變
在旋風器內部的旋轉氣流中,顆粒物受離心力作用作徑向向外 ( 朝向筒錐壁 ) 運動,運動速度可由顆粒物所受的離心力及氣流阻力的運動方程求得。顯然旋風器分離的目的_是使顆粒物盡快到達筒錐體邊壁。因此,延長顆粒物在旋風器中的運動時間,在氣流作用下提高顆粒物與筒錐體壁相撞的概率,可以提高旋風器除塵效率。
提出的旋風器結構如圖 2 所示,在普通旋風器中增加一個筒壁,這一筒壁將旋風器內部空間劃分為兩個環形區域,同時,排氣芯管被移到了下方,排氣芯管中的上升氣流也變成了下降氣流 ,顆粒物在內外兩個外環形區域內都得到了分離,事實上,這種旋風分離器相當于將兩個旋風子合到了一起。從理論上講,這種改進提高了顆粒物被收集的概率。 Y.Zhu 型旋風器試驗結果 ( 氣流流量范圍為 10L /min ~ 40L /min ,對粒徑范圍為 0.6μm ~ 8.8μm 顆粒物 ) 與 Stairmand 旋風器的進行了比較有:改進后的旋風器,除塵效率得到提高,并且隨氣流流量的增大而增大;同時,對于相同無因次尺寸的旋風器來說,前者的阻力也小于后者。 Y.Zhu 考慮各方面因素給出相應優化綜合指標得出改進旋風器性能優于傳統的旋風器。這種改動后的旋風器較原有傳統旋風器結構稍為復雜。
2 在原有旋風器結構上增加附加件
實際應用中的系統都比較龐大,采用新的旋風器替代原有旋風器,勢必導致工程量和成本比較大。基于這一想法, 很多研究者尋找不改變原有旋風器結構,而通過增加附加部件為提高旋風性能。
由于旋風器對微細顆粒物效率較低,尤其對 PM10( 粉塵粒徑小于 10μm 的顆粒物 ) 的除塵效率隨著顆粒直徑減小逐漸降低。也_是說,在旋風器的運行過程中,絕大部分微細粉塵穿透了分離區域,導致對微細粉塵效率下降。 A.Plomp 等 [3] ( 1996 年)提出了加裝二次分離附件的一種旋風器,見圖 3 示意圖。二次分離附件設置在旋風器本體頂部,稱之為 POC(post cyclone) 。
POC 二次分離作用是利用排氣芯管強旋流作用使微細粉塵受離心力作用向邊壁運動,并與擋板相撞后,通過縫隙 1 掉入擋板下部的殼體中,另一部分即使在一開始沒有與邊壁相撞,但由于始終受到離心力的作用,在到達 POC 頂部時,其中也有很大一部分通過縫隙 2 處而進入擋板與殼體之間的空間,隨后由于 POC 中主氣流的約 10% 通過縫隙形成滲透流,在滲透推動下,顆粒物被吹出殼體。
為了使該種旋風器得到_的應用和使 POC 在已有旋風分離器上加裝設計_優化, Youngmin Jo [ 4 ] 考慮到紊流擴散等因素對 POC 的影響,對一些變量在不同參數范圍內給出了兩種不同旋風器 (Stairmand 旋風器, 非 Stairmand 旋風器 ) 加 POC 組合的一些試驗結果,并對 POC 模型利用 CFD 進行了計算,所有試驗均在實際生產中投入運行的除塵系統中進行。
研究結果得知,在特定結構尺寸和運行條件下總效率比改進前提高了 2% ~ 20% ; POC 的阻力約為旋風器本體 10% ,該阻力與滲透氣流量無關 ( 在所給參數范圍內 ) ;對于直徑較大的旋風器,尤其在原旋風器性能不是很高的情況下,加裝 POC 的辦法對于提高旋風分離的性能很有效。 POC 裝置對 3μm 以上粉塵分離很有效,對 3μm 以下的粉塵效果不顯著;滲透流量及 POC 裝置的離心力對 POC 的性能影響顯著;采用穿孔 ( 較小 ) 內擋板可提高分離效率。
這種改進方法特點在于增加的能耗小;保養及維修簡單;對于已投入使用的分離系統工程改造方便;成本較低。
三結語
選用合適的方法對旋風分離器的結構形式進行改進,可以提高旋風器的技術性能。對于改進旋風器應用于工業通風除塵,還需要做到設計方法明確、應用前通過試驗驗證和應用中的配套技術完善。
冀 公網安備 13098102000341號